
Monitory
Jak prawidłowo podłączyć monitor TFT kolorowy do kamery cofania
Dowiedz się, jak prawidłowo podłączyć monitor TFT kolorowy do kamery cofania. Proste kroki i wskazówki, które ułatwią instalację i poprawią bezpieczeństwo.
•
15 marca 2025
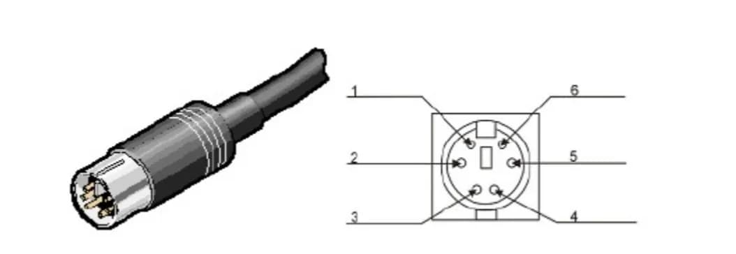
Jak prawidłowo podłączyć monitor TFT kolorowy do kamery cofania
Dowiedz się, jak prawidłowo podłączyć monitor TFT kolorowy do kamery cofania. Proste kroki i wskazówki, które ułatwią instalację i poprawią bezpieczeństwo.