
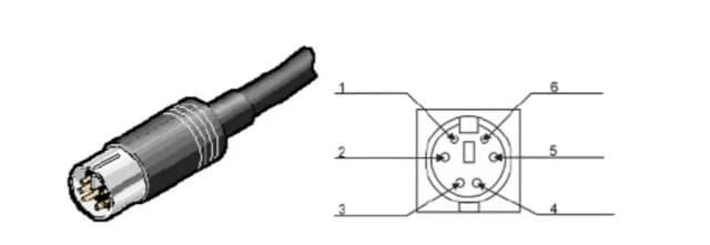
Dowiedz się, jak prawidłowo podłączyć monitor TFT kolorowy do kamery cofania. Proste kroki i wskazówki, które ułatwią instalację i poprawią bezpieczeństwo.
Dowiedz się, jak prawidłowo podłączyć monitor TFT kolorowy do kamery cofania. Proste kroki i wskazówki, które ułatwią instalację i poprawią bezpieczeństwo.
Zastanawiasz się, jaki laptop kupić? Sprawdź nasze rekomendacje, aby znaleźć idealne urządzenie, które spełni Twoje potrzeby i oczekiwania.
Ile kosztuje VR na PS5? Sprawdź aktualne ceny i oferty w popularnych sklepach oraz dowiedz się, gdzie znaleźć najlepsze promocje na PlayStation VR2.
Jak oglądać filmy VR na PS4? Dowiedz się, jak skonfigurować headset, jakie aplikacje wybrać oraz jakie formaty filmów są najlepsze do oglądania.
Zalany iPhone? Dowiedz się, co zrobić, aby go uratować i uniknąć strat. Szybkie i skuteczne metody na przywrócenie telefonu do życia!
Wybierz idealny monitor dla grafika, który zapewni doskonałą jakość obrazu, ergonomię i precyzyjne odwzorowanie kolorów. Sprawdź nasze rekomendacje!
Jak wyczyścić monitor bez ryzyka uszkodzenia ekranu? Sprawdź skuteczne metody, które pomogą usunąć smugi i zanieczyszczenia bezpiecznie i efektywnie.
Zastanawiasz się, który monitor wybrać? Porównaj monitory LED i LCD, ich zalety oraz wady, aby podjąć najlepszą decyzję dla siebie.
Zastanawiasz się, jaka odległość od telewizora jest najlepsza? Sprawdź, jak dostosować odległość do rozmiaru ekranu i rozdzielczości, aby uniknąć dyskomfortu.
Dowiedz się, jak podłączyć monitor do komputera stacjonarnego w kilku prostych krokach. Sprawdź złącza, wybierz kabel i skonfiguruj ustawienia.