
Czy iPhone 11 ma ładowarkę? Sprawdź, co znajdziesz w zestawie i jakie akcesoria warto dokupić, aby w pełni wykorzystać możliwości swojego telefonu.
Jestem Dawid Krawczyk, z ponad dziesięcioletnim doświadczeniem w branży technologicznej. Moja kariera obejmuje różnorodne aspekty, od programowania po zarządzanie projektami IT, co pozwala mi na szerokie spojrzenie na rozwój nowoczesnych technologii. Specjalizuję się w analizie trendów technologicznych oraz w tworzeniu treści, które nie tylko informują, ale także inspirują do innowacji. Zawsze dążę do dostarczania rzetelnych i aktualnych informacji, opartych na solidnych badaniach oraz praktycznych doświadczeniach. Moim celem jest nie tylko edukowanie czytelników, ale również zachęcanie ich do krytycznego myślenia o technologiach, które nas otaczają. Pisząc dla aveoworklogs.pl, pragnę dzielić się swoją pasją do technologii, a także pomóc innym w zrozumieniu ich wpływu na nasze codzienne życie.

Czy iPhone 11 ma ładowarkę? Sprawdź, co znajdziesz w zestawie i jakie akcesoria warto dokupić, aby w pełni wykorzystać możliwości swojego telefonu.

Dowiedz się, jak oglądać filmy VR na telefonie i ciesz się niesamowitymi wrażeniami 3D dzięki najlepszym aplikacjom i technologiom wirtualnej rzeczywistości.

Ile energii zużywa laptop? Sprawdź, jak różne modele wpływają na rachunki za prąd i poznaj proste sposoby na oszczędności.

Sprawdź procesor w laptopie, aby uniknąć problemów z wydajnością. Dowiedz się, jak zidentyfikować jego parametry i optymalizować działanie sprzętu.

Zastanawiasz się, co daje zakrzywiony monitor? Poznaj jego zalety, takie jak lepsza ergonomia, mniejsze zmęczenie oczu i zwiększona immersja w grach oraz filmach.

Dowiedz się, dlaczego monitor nie wyświetla obrazu. Sprawdź najczęstsze przyczyny i proste rozwiązania, które pomogą przywrócić obraz na ekranie.

Sprawdź, ile cali ma ekran iPhone 8. Zobacz, jak rozmiar 4,7 cala wpływa na komfort użytkowania i codzienną funkcjonalność telefonu.

Poznaj najlepsze rośliny, które idealnie sprawdzą się koło telewizora. Wybierz kwiaty, które nie wymagają dużo światła i ozdobią Twój salon.

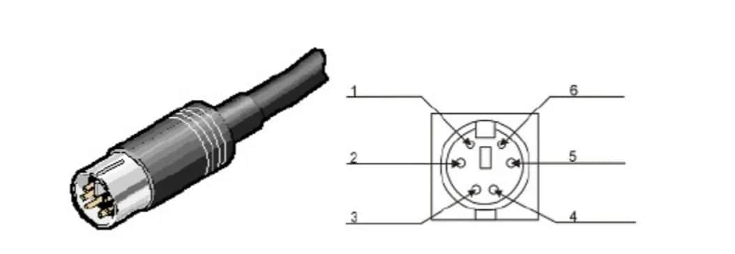
Dowiedz się, jak prawidłowo podłączyć monitor TFT kolorowy do kamery cofania. Proste kroki i wskazówki, które ułatwią instalację i poprawią bezpieczeństwo.

Zastanawiasz się, jaki laptop kupić? Sprawdź nasze rekomendacje, aby znaleźć idealne urządzenie, które spełni Twoje potrzeby i oczekiwania.